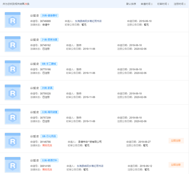
综合整理 近日,启信宝显示“谷爱凌”商标申请信息达到29条。其中,自然人张某于2019年6月申请的11个“谷爱凌”商标已完成注册,国际分类涉及教育娱乐、广告销售、布料床单等。其他公司及自然人申请的“谷爱凌”商标流程显示为“被驳回”或“商标无效”。
据了解,国家知识产权局于2021年3月起实施《打击商标恶意抢注行为专项行动方案》,集中开展打击商标恶意抢注行为专项行动。
据云南网报道,云南凌云律师事务所知识产权中心主任、昆明市律协知识产权委员会副主任董建国表示,“如果谷爱凌本人提出商标无效,国家知识产权局将会宣告相应的商标无效……根据该方案,相关的商标申请人有可能会受到相应处罚。”
目前,谷爱凌方面暂未对此事作出回应。










- 多平台社媒聆听









