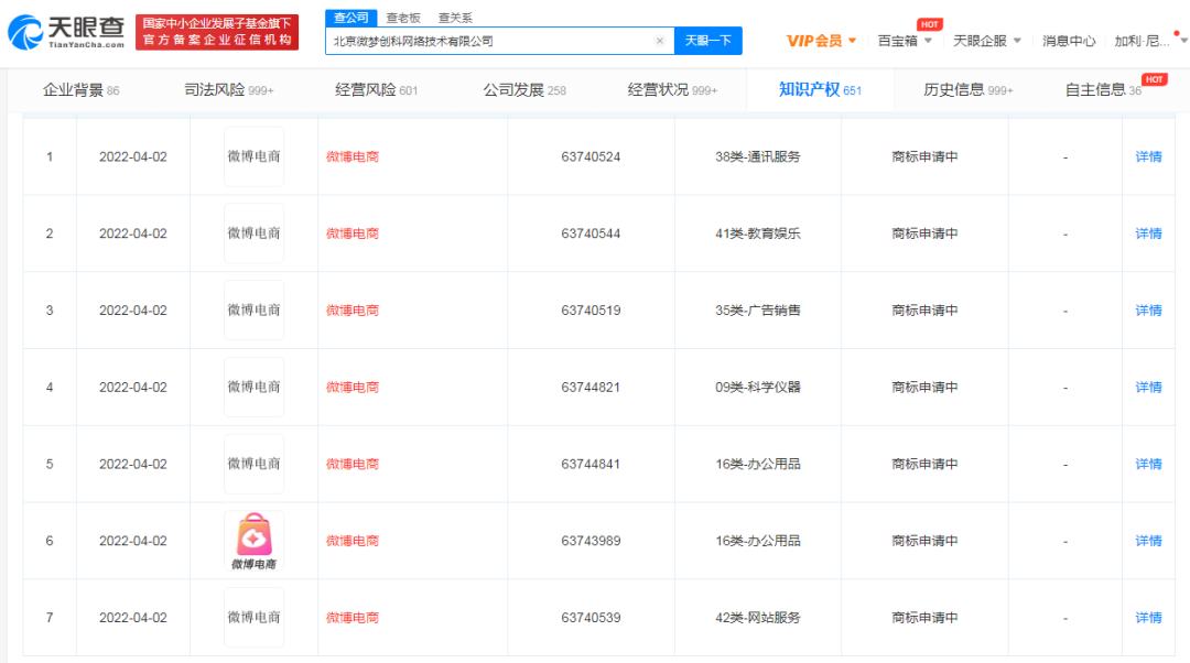
据天眼查 近日,北京微梦创科网络技术有限公司申请注册多项“微博电商”商标,国际分类涉及通讯服务、教育娱乐、广告销售、科学仪器等,当前商标状态为申请中。
微博CEO王高飞就AI手机能否自动发微博作出回应:相关操作“需要确认”
腾讯参与COP 30并发布多项数字化成果
拼多多密集招聘AI电商大模型人才