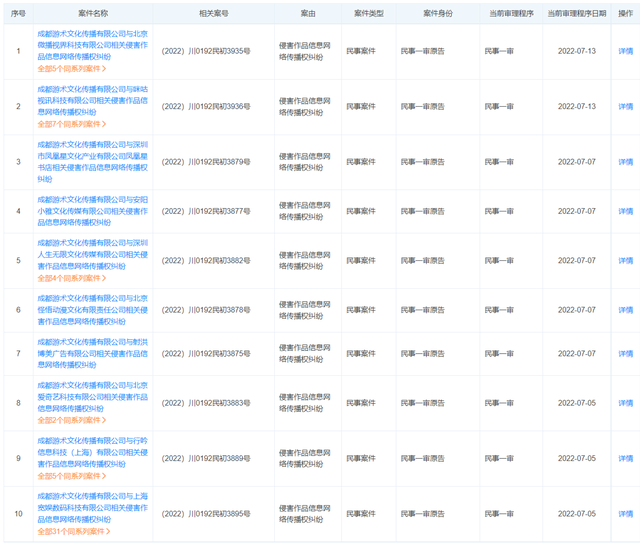
综合消息 7月10日,《谭谈交通》节目主持人谭乔称其节目视频突然遭遇全网下架,自己还被版权方投诉,未来或面临数千万赔偿和牢狱之灾。
7月11日,谭乔告诉极目新闻记者,据他所知,当年自己以交警身份参与节目拍摄时,各方对节目版权未做任何约定,“节目拍摄就是为了宣传道路交通安全”。现在为何成都游术文化传播有限公司自称版权方,并投诉使全网视频下架,他也不得而知。出于不解和担忧,他才在社交平台上发声。




综合消息 7月10日,《谭谈交通》节目主持人谭乔称其节目视频突然遭遇全网下架,自己还被版权方投诉,未来或面临数千万赔偿和牢狱之灾。
7月11日,谭乔告诉极目新闻记者,据他所知,当年自己以交警身份参与节目拍摄时,各方对节目版权未做任何约定,“节目拍摄就是为了宣传道路交通安全”。现在为何成都游术文化传播有限公司自称版权方,并投诉使全网视频下架,他也不得而知。出于不解和担忧,他才在社交平台上发声。